Construction d'un gazogène simplifié pour alimenter un moteur à combustion interne en cas de crise pétrolière
Traduit de l'anglais de manière amateure par Baptiste LARVOL-SIMON, 09/2020
Titre original: Construction of a Simplified Wood Gas Generator for Fueling Internal Combustion Engines in a Petroleum Emergency
Par:
H. LaFontaine, Biomass Energy Foundation, lnc. Miami, Florida
Et:
F. P. Zimmerman, Oak Ridge National Laboratory, Energy Division
Numéro d'agrément interagences FEMA: EMW-84-E-1737 Unité de travail: 3521 D
Pour:
L'Agence Fédérale de Gestion de Crise, Washington, D.C. 20472
"Ce rapport a été revu et corrigé par l'Agence Fédérale de Gestion de Crise et approuvé pour la publication. Cette approbation ne signifie pas que le contenu de cet ouvrage représente nécessairement le point de vue et les politiques de l'Agence Fédérale de Gestion de Crise."
Date de publication : Mars 1989
Approuvé pour une diffusion publique : distribution illimitée.
Notes concernant la traduction
Le traducteur a pris la liberté de traduire "Wood Gas Generator" en "Gasogène". Une traduction alternative, plus littérale, aurait pu être "Gazéficateur de bois" ou "Générateur de gaz de bois".
Résumé
Résumé condensé
H. LaFontaine, G. P. Zimmerman
Ce rapport fait partie d'une série d'études de technologies de crise portée par l'Agence Fédérale de Gestion de Crise (FEMA). L'objet de ce rapport est de développer des instructions précises et illustrées de la fabrication, l'installation et le fonctionnement d'une unité de production de gaz à partir de biomasse (appelée aussi "gazogène" ou "générateur de gaz de bois") capable de fournir du carburant de substitution en cas de crise pour les véhicules tels que les tracteurs et les fourgons, dans les cas où les sources normales de pétrole seraient défaillantes sur une longue période de temps. Ces instructions ont été préparées comme un manuel pour n'importe quel mécanicien capable de travailler le métal ou de réparer un moteur.
Ce rapport cherche à préserver les connaissances en matière de gazéification du bois, tel qu'il a été pratiqué durant la Seconde Guerre Mondiale. Des procédures de fabrication, étape-par-étape, sont présentées pour une version simplifiée du gazogène de la Seconde Guerre Mondiale. Ce gazogène simple, stratifié et à flux descendant peut être construit à partir de matériaux qui seraient largement disponibles aux États-Unis en cas de crise pétrolière prolongée. Par exemple, le corps du gazogène est une poubelle galvanisée posée sur un petit fut en métal ; des raccords de plomberie les plus classiques ; et un grand bol en acier inoxydable pour la grille. Ce gazogène compact, dans son ensemble, a été monté à l'avant d'un tracteur agricole et testé avec succès sur le terrain, en utilisant des copeaux de bois comme seul carburant. La documentation photo de l'assemblage actuel du gazogène ainsi que son fonctionnement sont inclus.
Résumé détaillé
Ce rapport fait partie d'une série d'études de technologies de crise portée par l'Agence Fédérale de Gestion de Crise (FEMA). L'objet de ce rapport est de développer des instructions précises et illustrées de la fabrication, l'installation et le fonctionnement d'une unité de production de gaz à partir de biomasse (appelée aussi "gazogène" ou "générateur de gaz de bois") capable de fournir du carburant de substitution en cas de crise pour les véhicules tels que les tracteurs et les fourgons, dans les cas où les sources normales de pétrole seraient défaillantes sur une longue période de temps. Ces instructions ont été préparées comme un manuel pour n'importe quel mécanicien capable de travailler le métal ou de réparer un moteur.
Le carburant gazeux, produit à partir de la réduction de charbon et de tourbe, a été utilisé pour le chauffage dès les années 1840 en Europe et a été adapté pour les moteurs à explosion en Angleterre autour de 1884. Avant 1940, les gazogènes étaient communs quoique utilisés à petite échelle. Cependant, les pénuries de pétrole durant la Seconde Guerre Mondiale ont amené à généraliser les applications des gazogènes dans les industries du transport en Europe. (Des taxis roulant au charbon de bois étaient encore courant dans les années 70 en Corée.) Les États-Unis, qui n'ont jamais connu de pénurie de pétrole prolongée ou sévère, sont restés très en retard sur l'Europe et l'Orient dans sa familiarisation avec cette technologie.
Cependant, une castrophe pourrait interrompre l'approvisionnement de Pétrole dans le pays si sévèrement que cette technologie pourrait devenir critique pour l'énergie de certaines industries essentielles, comme la production et la distribution d'alimentation. Dans le Danemark occupé durant la Seconde Guerre Mondiale, 95% des engins agricoles du pays, des tracteurs, des moteurs fixes, et des bateaux de pêche et de transport étaient propulsés par des gazogènes. Même dans une Suède neutre, tout le trafic motorisé fonctionnait au gaz dérivé du charbon de bois ou du bois. Partout en Europe, en Asie et en Australie, des millions de gazogènes furent opérationnels entre 1940 et 1946.
À cause des risques pour la santé liés aux fumées toxiques, la plupart des gazogènes furent abandonnés quand le pétrole devint à nouveau disponible en 1945. Hormis en tant que technologie permettant la production de carburants alternatifs, comme le méthane ou l'alcool, quand le gasoil et l'essence ne sont plus disponible, la seule solution permettant de faire tourner des moteurs à combustion interne reste ce gazogène simple et bon marché.
Ce rapport cherche à préserver les connaissances en matière de gazéification du bois, tel qu'il a été pratiqué durant la Seconde Guerre Mondiale. Des procédures de fabrication, étape-par-étape, sont présentées pour une version simplifiée du gazogène de la Seconde Guerre Mondiale. Ce gazogène simple, stratifié et à flux descendant peut être construit à partir de matériaux qui seraient largement disponibles aux États-Unis en cas de crise pétrolière prolongée. Par exemple, le corps du gazogène est une poubelle galvanisée posée sur un petit tambour en métal ; des raccords de plomberie les plus classiques ; et un grand bol en acier inoxydable pour la grille. Ce gazogène compact, dans son ensemble, a été monté à l'avant d'un tracteur agricole et testé avec succès sur le terrain, en utilisant des copeaux de bois comme seul carburant. La documentation photo de l'assemblage actuel du gazogène ainsi que son fonctionnement sont inclus.
Ces gazogènes peuvent ne pas être limités aux secteurs du transport. Des moteurs fixes peuvent également carburer au gaz de bois, pour faire fonctionner des générateurs d'électricité, des pompes, et tout équipement industriel. En fait, l'usage du gaz de bois comme carburant n'est pas seulement limité au moteurs essence ; si une petite portion de gasoil est utilisée pour l'allumage, un moteur diesel correctement ajusté pourra tout à fait fonctionner en majeure partie sur le gaz de bois introduit par le collecteur d'admission.
S.1 Principes d'une gazéification de carburant solide
Tout moteur à combustion interne fonctionne en fait avec du gaz, pas du liquide. Les caburants liquides utilisé par les moteurs essence sont vaporisés avant d'entrer dans la chambre de combustion sous les pistons. Dans les moteurs diesel, le carburant est envoyé dans la chambre de combustion sous forme de spray de fines gouttelettes qui brûle dès qu'elles se vaporisent.
La raison d'être d'un gazéifcateur, alors, est de transformer des carburants solides en carburants gazeux, et de conserver le gaz sans impureté pouvant être source de dégâts. Un gazogène est à la fois un convertisseur d'énergie et un filtre. C'est dans ces fonctions jumelles que repose ses avantages et ses difficultés. D'une certaine manière, la gazéification est une forme de montée en température-combustion partielle de carburants solides qui créé du gaz incapable de brûler complètement à cause du taux trop faible d'oxygène en entrée du système. La gazéification répond aux mêmes lois que celles gouvernant la combustion.
À ce titre, de nombreux carburants issus de la biomasse solide peuvent être utilisés dans un gazogène -du papier et du bois à la tourbe, la lignite, le charbon, ce qui inclut le coke, dérivé du charbon. Tous ces carburants solides sont composés en premier lieu de carbone, avec des taux d'hydrogène, d'oxygène et d'impuretés (dont le sulfure, la cendre et l'humidité). Ainsi, le but de la gazéification est la transformation la plus complète possible de ces constituants en formes gazeuses faisant que seules les cendres et les matériaux inertes subsistent. La création du gaz de bois pour alimenter des moteurs à combustion interne demande à ce que le gaz non seulement soit produit convenablement, mais également conservé jusqu'à son introduction dans le moteur (et non consommé en chemin) où il sera à ce moment brûlé pour générer une énergie mécanique.
La gazéification est un processus physico-chimique dans lequel des transformations chimiques se produisent en même temps que la conversion de l'énergie. Les réactions chimiques et thermochimiques qui ont lieu dans le gazogène son trop longues et trop compliquées pour que nous les traitions ici ; heureusement, une telle connaissance n'est pas nécessaire pour construire et faire fonctionner un gazogène. Le gaz (de bois) produit dans un gazogène contient, en pourcentage de sa masse globale, environ 20% de di-hydrogène (H2), 20% de monoxyde de carbone (CO), et des petites quantités de méthane (CH4). Tous sont des combustibles. En plus de ceci, on trouve entre 50 à 60% de "nitrogène", de di-azote (N2) qui, s'il n'est pas combustible, occupe du volume de gaz et dilue le gaz entrant et brûlant dans le moteur. À mesure que le gaz de bois brûle, les produits de la combustion sont du dioxyde de carbone (CO2) et de la vapeur d'eau (H20).
L'un des sous-produits de la gazéification du bois est le monoxyde de carbone. Les risques toxiques associés à l'inhalation de ce gaz devraient être évités par les opérations de recarburation ou une mise au repos prolongée du système, en particulier dans les espaces trop peu ventilés. À l'exception du risque d'incendie issu de la combustion au sein du gazogène, le pruncipal risque du fonctionnement normal du gazogène simplifié est l'intoxication au monoxyde de carbone.
S.2 Le gazogène stratifié à flux descendant
Jusqu'aux début des années 1980, les gazogènes (dans le monde entier, y compris ceux issus de la Seconde Guerre Mondiale) fonctionnaient sur le principe d'une séparation étanche entre la trémie du carburant (le réservoir d'alimentation) et l'unité de combustion ; la trémie était fermée par un couvercle qui devait être ouvert à chaque fois que du bois devait être ajouté. De la fumée et du gaz étaient alors relâchés dans l'atmosphère durant le chargement de bois ; l'opérateur devait alors être attentif à ne pas respirer de la fumée désagréable ou toxique.
Durant les dernières années, un gazogène de conception nouvelle a été développé par des efforts de coopération entre des chercheurs à l'Institut de Recherche sur l'Énergie Solaire du Colorado, à l'Université de Californie à Davis, l'Open University de Londres, la société Buck Rogers Company au Kansas, et la société Biomass Energy Foundation Inc. en Floride. Cette conception simplifiée utilise un système de pression négative dans lequel les anciennes trémies fermées ne sont plus nécessaires. La trappe de fermeture n'est plus utile que pour préserver le carburant lorsque le moteur est à l'arrêt. Cette nouvelle technologie revêt différentes appellations populaires, comme "gazogène stratifié, à flux descendant" et "le gazogène à capot ouvert". Plusieurs années de tests en laboratoire et en situations réelles indiquent qu'un gazogène aussi simple et bon marché peut être construit à partir de matériel existant et font tout à fait l'affaire pour des solutions de crise. Un schéma du gazogène stratifié à flux descendant est présenté dans l'illustration S-1. Lors du fonctionnement de ce gazogène, l'air passe uniformément à travers 4 zones, d'où le nom de stratifié :
- La partie la plus haute contient le carburant encore solide à travers laquelle l'air et l'oxygène entrent. Cette partie est similaire à la trémie à carburant dans les anciennes conceptions de la Seconde Guerre Mondiale.
- Dans la seconde partie, le carburant-bois réagit avec l'oxygène durant la pyrolyse. La plupart des composants volatiles du carburant sont brûlés à ce niveau et constituent la source de chaleur pour les réactions de pyrolyse suivantes. En bas de cette zone, tout l'oxygène disponible dans l'air devrait avoir disparu. La conception ouverte par le haut assure la ventilation uniforme de la zone de pyrolyse.
- La troisième partie fonctionne sur le charbon de bois produit par la seconde partie. Les gaz chauds issus de la combustion de la zone de pyrolyse réagissent avec le charbon de bois, convertissant le dioxyde de carbone et l'eau en monoxyde de carbone et di-hydrogène.
- Les matières inertes et la cendre, qui remplissent la quatrième partie, sont normalement trop froids pour provoquer plus de réactions ; cependant, parce que la quatrième zone est capable d'absorber de la chaleur et de l'oxygène quand les conditions changent, elle sert à la fois de zone tampon et de stock de charbon de bois. C'est sous cette partie que se trouve la grille. La présence de matière inerte et de cendre sert à protéger la grille des températures les plus élevées.
La conception en strates et à flux descendant possède de nombreux avantages par rapport à celle de la Seconde Guerre Mondiale. Le fait que le réservoir soit ouvert permet de faire aisément le plein de carburant et permet un accès facilité. La forme cylindrique est facile à fabriquer et permet le flux régulier de carburant. Aucune forme particulière ou de prétraitement du carburant n'est ainsi nécessaire. N'importe quel carburant en bloc peut être utilisé.
La première question à propos du gazogène stratifié à flux descendant concerne le nettoyage des cendres et autres matériaux inertes. Lorsque le charbon de bois réagit avec les gaz de combustion, il finit par devenir très peu dense et se brise en une poussière contenant toutes les cendres ainsi qu'un pourcentage du carbone d'origine. Cette poussière peut partiellement être transportée par le gaz et peut éventuellement finir par boucher le gazogène. C'est la raison pour laquelle elle doit être retirée par agitation ou secouement. Lorsque le gazogène est utilisé par des véhicules, cette opération est faite automatiquement par le mouvement du véhicule.
Une question importante dans la conception du gazogène stratifié à flux descendant est la prévention du phénomène de pontage et de la canalisation du combustible. Des biocarburants de bonne qualité, comme des blocs ou des copeaux de bois, vont descendre le long du gazogène du fait de la gravité et du flux d'air descendant. Cependant, d'autres types de combustibles (comme les déchiquetas de bois, la sciure ou l'écorce) peuvent former un pont, empêchant alors le flux continu de combustible qui peut être la cause de fortes températures. Le pontage peut être évité précocement en remuant, secouant ou en agitant la grille, à la main pour par le mouvement du véhicule. Pour les cas d'immobilisation continue du gazogène, un système manuel pour secouer le gazogène a été inclus dans ce rapport.
Un prototype de gazogène stratifié à flux descendant a été fabriqué conformément aux instructions de ce rapport (voir illustration S-2 et S-3) ; Cependant il n'a pas été testé de manière extensive pour l'instant. Le lecteur est appelé à faire preuve d'ingéniosité et d'esprit d'initiative dans la construction de son propre gazogène. Aussi longtemps que le principe d'étanchéité à l'air est assuré dans les zones de combustion, dans la tuyauterie et dans le filtre, la forme et la méthode d'assemblage ne sont pas importants.
La conception du gazogène présenté ici est basé sur la technologie éprouvée utilisée durant la Seconde Guerre Mondiale lors des pénuries d'essence et de gazoil. Il faut reconnaître qu'il existe des technologies alternatives (telles que la production de méthane ou l'utilisation de carburants à base d'alcool) pour alimenter les moteurs à combustion interne pendant une crise pétrolière prolongée ; le gazogène décrit dans ce rapport ne représente ainsi qu'une seule solution au problème.
Qu'est-ce qu'un gazogène et comment cela fonctionne-t-il ?
Ce rapport fait partie d'une série d'études de technologies de crise portée par l'Agence Fédérale de Gestion de Crise (FEMA). L'objet de ce rapport est de développer des instructions précises et illustrées de la fabrication, l'installation et le fonctionnement d'une unité de production de gaz à partir de biomasse (appelée aussi "gazogène" ou "générateur de gaz de bois") capable de fournir du carburant de substitution en cas de crise pour les véhicules tels que les tracteurs et les fourgons, dans les cas où les sources normales de pétrole seraient défaillantes sur une longue période de temps. Ces instructions ont été préparées comme un manuel pour n'importe quel mécanicien capable de travailler le métal ou de réparer un moteur.
Introduction
Le carburant gazeux, produit à partir de la réduction de charbon et de tourbe, a été utilisé pour le chauffage dès les années 1840 en Europe et a été adapté pour les moteurs à explosion en Angleterre autour de 1884. Avant 1940, les gazogènes étaient communs quoique utilisés à petite échelle. Cependant, les pénuries de pétrole durant la Seconde Guerre Mondiale ont amené à généraliser les applications des gazogènes dans les industries du transport en Europe. (Des taxis roulant au charbon de bois étaient encore courant dans les années 70 en Corée).
Les États-Unis, qui n'ont jamais connu de pénurie de pétrole prolongée ou sévère, sont restés très en retard sur l'Europe et l'Orient dans sa familiarisation avec cette technologie. Cependant, une castrophe pourrait si sévèrement interrompre l'approvisionnement de Pétrole dans le pays que cette technologie pourrait devenir critique pour l'énergie de certaines industries essentielles, comme la production et la distribution d'alimentation. Ce rapport cherche à préserver les connaissances en matière de gazéification du bois tel que ça a pu être mis en pratique durant la Seconde Guerre Mondiale. Des procédures détaillées, pas-à-pas, pour la construction d'une version simplifiée du gazogène Imbert de la Seconde Guerre Mondiale.
Ce gazogène simple, stratifié et à flux descendant peut être construit à partir de matériaux qui devraient être largement disponibles aux USA lors d'une crise pétrolière prolongée. Ce gazogène simple, stratifié et à flux descendant peut être construit à partir de matériaux qui seraient largement disponibles aux États-Unis en cas de crise pétrolière prolongée. Par exemple, le corps du gazogène est une poubelle galvanisée posée sur un petit fut en métal ; des raccords de plomberie les plus classiques ; et un grand bol en acier inoxydable pour la grille. Ce gazogène compact, dans son ensemble, a été monté à l'avant d'un tracteur agricole et testé avec succès sur le terrain, en utilisant des copeaux de bois comme seul carburant. La documentation photo de l'assemblage actuel du gazogène ainsi que son fonctionnement sont inclus. en utilisant des copeaux de bois comme seul carburant, voir l'illustration 1-1 (toutes les illustrations et les tables sont présentées à la fin de leur section respective). La documentation photographique de l'assemblage du prototype, tout comme son test fonctionnel sur le terrain, est incluse dans ce rapport.
Ces gazogènes peuvent ne pas être limités aux secteurs du transport. Des moteurs fixes peuvent également carburer au gaz de bois, pour faire fonctionner des générateurs d'électricité, des pompes, et tout équipement industriel. En fait, l'usage du gaz de bois comme carburant n'est pas seulement limité au moteurs essence ; si une petite portion de gasoil est utilisée pour l'allumage, un moteur diesel correctement ajusté pourra tout à fait fonctionner en majeure partie sur le gaz de bois introduit par le collecteur d'admission.
Cependant, ce rapport est valide pour le fonctionnement de moteurs essence 4 cylindres allant de 10 à 50ch. Si davantage d'information est nécessaire à propos du fonctionnement des gazogènes à partir d'autres carburant (tel le charbon, le charbon de bois, la tourbe, la sciure de bois ou même les algues), une liste d'ouvrages intéressants est indiqué dans la Bibliographie en fin de rapport.
L'objet de ce rapport est de fournir des informations permettant de construire un gazogène maison à partir de matériaux ordinaires et disponibles, de manière à pouvoir faire fonctionner au plus vite des tracteurs agricoles, des camions et d'autres véhicules dans le cas où une crise sévère sur les carburants liquides devait survenir. La première section décrit les principes des la gazéification et les gazogènes en général. Elle donne également quelques repères historiques par rapport à leur fonctionnement et leur efficacité. La seconde section donne des instructions étape par étape pour construire son propre gazogène. Des photographies et des illustrations sont fournies pour éviter les erreurs. La troisième section fournit les informations sur l'utilisation et la maintenance d'un gazogène, ainsi qu'un guide de résolution des problèmes. Elle inclut également des bonnes pratiques à propos de la sécurité relative à l'usage du gazogène.
La conception du gazogène présenté ici est basé sur la technologie éprouvée utilisée durant la Seconde Guerre Mondiale lors des pénuries d'essence et de gazoil. Il faut reconnaître qu'il existe des technologies alternatives (telles que la production de méthane ou l'utilisation de carburants à base d'alcool) pour alimenter les moteurs à combustion interne pendant une crise pétrolière prolongée ; le gazogène décrit dans ce rapport ne représente ainsi qu'une seule solution au problème.
Les principes de la gazéification de carburant solide
Tout moteur à combustion interne fonctionne en fait avec du gaz, pas du liquide. Les caburants liquides utilisé par les moteurs essence sont vaporisés avant d'entrer dans la chambre de combustion sous les pistons. Dans les moteurs diesel, le carburant est envoyé dans la chambre de combustion sous forme de spray de fines gouttelettes qui brûle dès qu'elles se vaporisent. La raison d'être d'un gazéifcateur, alors, est de transformer des carburants solides en carburants gazeux, et de conserver le gaz sans impureté pouvant être source de dégâts. Un gazogène est à la fois un convertisseur d'énergie et un filtre. C'est dans ces fonctions jumelles que repose ses avantages et ses difficultés. La première question que beaucoup de personnes posent à propos des gazogènes est "Mais d'où vient donc le gaz combustible ?". Allumez une allumette en bois, tenez-la dans une position horizontale, et regardez que pendant que le bois devient du charbon, elle n'est pas entrain de brûler mais elle relâche un gaz qui commence à s'enflammer légèrement au-dessus d'elle. Notez l'interstice entre le bois de l'allumette et la flamme lumineuse. Il est composé de gaz de bois qui, quand il est mélangé avec suffisamment d'air (qui contient de l'oxygène), produit cette flamme.
Le gaz (de bois) produit dans un gazogène contient, en pourcentage de sa masse globale, environ 20% de di-hydrogène (H2), 20% de monoxyde de carbone (CO), et des petites quantités de méthane (CH4). Tous sont des combustibles. En plus de ceci, on trouve entre 50 à 60% de "nitrogène", de di-azote (N2) qui, s'il n'est pas combustible, occupe du volume de gaz et dilue le gaz entrant et brûlant dans le moteur. À mesure que le gaz de bois brûle, les produits de la combustion sont du dioxyde de carbone (CO2) et de la vapeur d'eau (H20).
Les même lois chimiques relatives aux processus de combustion s'appliquent à la gazéification. De nombreux carburants issus de la biomasse solide peuvent être utilisés dans un gazogène -du papier et du bois à la tourbe, la lignite, le charbon, ce qui inclut le coke, dérivé du charbon. Tous ces carburants solides sont composés en premier lieu de carbone, avec des taux d'hydrogène, d'oxygène et d'impuretés (dont le sulfure, la cendre et l'humidité). Ainsi, le but de la gazéification est la transformation la plus complète possible de ces constituants en formes gazeuses faisant que seules les cendres et les matériaux inertes subsistent.
D'une certaine manière, la gazéification est une forme de montée en température-combustion partielle de carburants solides qui créé du gaz incapable de brûler complètement à cause du taux trop faible d'oxygène en entrée du système.
Dans l'exemple précédent de l'allumette, comme le bois a été brûlé et pyrolysé en charbon, le gaz de bois a été produit, mais le gaz a aussi été consumé par combustion (du fait de l'énorme disponibilité d'oxygène dans l'espace environnant).
La création du gaz de bois pour alimenter des moteurs à combustion interne demande à ce que le gaz non seulement soit produit convenablement, mais également conservé jusqu'à son introduction dans le moteur (et non consommé en chemin) où il sera à ce moment brûlé convenablement. La gazéification est un processus physico-chimique dans lequel des transformations chimiques se produisent en même temps que la conversion de l'énergie. Les réactions chimiques et thermochimiques qui ont lieu dans le gazogène son trop longues et trop compliquées pour que nous les traitions ici. Une telle connaissance n'est pas nécessaire pour construire et faire fonctionner un gazogène. Des livres précisant cela sont listés dans la section des références (voir, par exemple, Reed 1979, Vol. II ; ou Reed & Das 1988).
Informations générales
L'usage du bois pour produire de la chaleur est aussi vieille que l'humanité. Mais en brûlant du bois nous n'utilisons seulement qu'un tiers de son énergie. Les deux tiers restant sont perdus dans l'environnement avec la fumée. Gazéification est une méthode pour collecter la fumée et ses composés combustibles. Faire un gaz combustible à partir de charbon et de bois commença à partir de 1790 en Europe. Un tel gaz manufacturé fut utilisé pour l'éclairage public et introduit dans les maisons pour la cuisine, le chauffage et l'éclairage. L'industrie l'utilisa pour les machines à vapeur, et les agriculteurs leurs machines. Après la découverte de grandes réserves de pétrole aux USA en Pennsylvanie en 1859, le monde entier passa au pétrole, un carburant moins cher et plus pratique. Des milliers de machines à gaz furent démantelées dans le monde.
Les gazogènes à bois ne sont pas des merveilles technologiques pouvant rayer d'un trait de crayon notre dépendance actuelle au pétrole, réduire les impacts d'un crash énergétique ou absorber sur le long terme les impacts économiques de prix élevés sur les combustibles fossiles. Cependant ils sont une solution de crise qui a fait ses preuve dans des circonstances où il y avait pénurie sur de tels carburants, comme la guerre, un boulversement civil, ou une catastrophe naturelle. En fait, de nombreuses personnes se souviennent encore de l'usage à grande échelle des gazogènes durant la Seconde Guerre Mondiale, lorsque les produits pétroliers devirent indisponibles pour les populations civiles dans de nombreux pays. Naturellement, les personnes les plus touchées par la rareté du pétrole sont celles qui ont produit les plus grandes avancées dans la technologie des gazogènes.
Dans le Danemark occupé durant la Seconde Guerre Mondiale, 95% des engins agricoles du pays, des tracteurs, des moteurs fixes, et des bateaux de pêche et de transport étaient propulsés par des gazogènes. Même dans une Suède neutre, tout le trafic motorisé fonctionnait au gaz dérivé du charbon de bois ou du bois (Reed and Jantzen 1979). Partout en Europe, en Asie et en Australie, des millions de gazogènes furent opérationnels entre 1940 et 1946.
À cause des risques pour la santé liés aux fumées toxiques, la plupart des gazogènes furent abandonnés quand le pétrole devint à nouveau disponible en 1945. Hormis en tant que technologie permettant la production de carburants alternatifs, comme le méthane ou l'alcool, quand le gasoil et l'essence ne sont plus disponible, la seule solution permettant de faire tourner des moteurs à combustion interne reste ce gazogène simple et bon marché.
La Seconde Guerre Mondiale, le gazogène à combustion interne
Les bases des fonctionnements des deux gazogènes sont décrites ici et dans la section suivante. Leurs avantages et leurs désavantages opérationnels seront également discutés, ceci à destination des seuls lecteurs techniquement intéressés. Cela permettra au lecteur de mieux comprendre les subtilités des principes opérationnels du gazogène décrit dans ce manuel. Les lecteurs anxieux par la construction de leur propre gazogène devraient passer ce qui suit en continuant directement avec la seconde section, sans préjudice d'aucune perte de continuité.
Le gazogène à foyer fermé et à flux descendant exposé dans l'illustration 1-2 est parfois appelé "Gazogène Imbert", par le nom de son inventeur, Jacques Imbert. Cependant, il a été commercialisé sous des noms divers. De tels gazogènes ont été produits en masse durant la Seconde Guerre Mondaie par de nombreux fabriquants automobiles européens, ce qui inclut General Motors, Ford et Mercedes-Benz. Ces gazogènes coûent environ 1500$ pièce (évaluation 1985).
Cependant, après que la Seconde Guerre Mondiale débuta en 1939, 6 à 8 mois furent nécessaires pour que des gazogènes industriels soient disponibles à grande échelle. Des milleurs d'Européens furent sauvés de la famine certaine par des gazogènes simples, fabriqués artisanalement à partir de tubes de machines à laver, de vieux chauffe-eau, et des cylindres métalliques de gaz ou d'oxygène. Étonnamment, le fonctionnement de ces gazogènes maison fut presque aussi bon que les gazogènes industriels, bien que leur durée de vie fut moindre (35.000km avec de nombreuses réparation contre 175.000km pour les versions industrielles).
Dans l'illustration 1-2, le cylindre supérieur du gazogène est simplement un bac ou une trémie de stockage pour les copeaux de bois ou autre biocarburant. Durant le fonctionnement, cette chambre est remplie toutes les quelques heures en fonction de la consommation. Le couvercle à ressort doit être ouvert pour recharger la trémie de carburant. Il doit rester fermé hermétiquement durant le fonctionnement du gazogène. Le ressort permet au couvercle de jouer le rôle d'une vanne de sécurité, qui s'ouvrira d'un coup en cas de pression interne des gaz excessive.
Des buses d'air orientées radialement sont positionnées en bas du gazogène, à environ un tiers de sa hauteur. Elles permettent à l'air d'être injecté dans le bois à mesure qu'il descend pour être gazéifié. Dans le cas d'un gazogène utilisé par un véhicule, la course descendante des pistons du moteur créé une sussion de l'air vers et à travers l'unité de gazéification. Durant l'allumage du gazogène, une soufflerie est utilisée pour créé un courant d'air suffisant. Le gaz est introduit dans le moteur et consommé quelques secondes après sa génération. Cette méthode de gazéification est appelée "génération de gaz producteur", car aucun système de stockage n'est utilisée et que seul la quantité de gaz "appelée" par le moteur est produite. Quand le moteur est coupé, la production de gaz s'arrête.
Durant le fonctionnement normal, l'air entrant brûle et pyrolyse une partie du bois, la plupart des goudrons et des huiles, et un peu du charbon de bois qui remplit le foyer fermé, sous les buses d'air. La plus part de la masse de carburant est convertie en gaz dans la zone de combustion. Le gazogène Imbert, pour bien des raisons, s'auto-ajuste. S'il y a suffisamment de charbon de bois au niveau des buses, davantage de bois est brûlé et pyrolysé pour faire plus de charbon, au risque de dépasser les buses et alors l'air entrant brûle le charbon de bois. Alors, la zone de combustion est maintenue près des buses.
Sous la zone de combustion, les gaz chauds produits (dioxyde de carbone CO2 et vapeur d'eau H20) traversent le chabon de bois chaud où ils sont réduits en gaz combustibles : monoxyde de carbone (CO) et di-hydrogène (H2).
Le rétrécissement du foyer fait passer tous les gaz à travers la zone de réaction, produisant ainsi un maximum de mélange et un minimum de perte de chaleur. Les plus hautes températeurs sont atteintes à ce niveau.
Les fines poussières de charbon et de cendres peuvent éventuellement boucher le lit de charbon et réduire le débit de gaz jusqu'à ce que la poussière soit retirée. Le charbon de bois est maintenu par une grille amovible qui peut être agitée de temps en temps. Les cendres tombées sous la grille peuvent être retirées durant les opérations de nettoyage. Habituellement le bois contient (en poids) moins de 1% de cendre. Cependant, à mesure que le charbon de bois est consumé, il s'effondre en une sorte de mélange de charbon poussiéreux et de cendres qui peut représenter 2 à 10% du poids total du carburant.
L'unité de refroidissement nécessaire pour le gazogène Imbert est un refroidisseur de gaz constitué d'une cuve de précipitation rempli d'eau et d'un radiateur de voiture. La cuve de précipitation permet de purifier le gaz des goudrons inacceptables et de la plupart des cendres fines, tandis que le radiateur refroidit davantage le gaz. Une seconde unité de filtration, contenant des matériaux de filtration à mailles fines, est utilisée pour retirer les dernières traces de cendre ou de poussière qui auraient pu survivre au passage dans l'unité de refroidissement. Une fois sorti de l'unité de filration, le gaz de bois est mélangé à l'air dans le carburateur du véhicule, et est alors injecté directement dans le collecteur d'admission du moteur.
Le gazogène Imbert de la Seconde Guerre Mondaie nécessite du bois très sec (moins de 20% d'humidité) formant un carburant en blocs réguliers de manière afin de permettre une alimentation facile par gravité à travers le foyer rétréci. Brindilles, bâtons et morceaux d'écorce ne peuvent être utilisés. Le rétrécissement dans le foyer et les buses protubérantes forment des obstructions à la circulation du carburant pouvant faciliter la formation de pontages amenant à la production d'un gaz de mauvaise qualité, puisque du carburant non pyrolysé tombe dans la zone de réaction. Les véhicules de l'époque de la Seconde Guerre mondiale vibraient suffisamment pour secouer les blocs de bois soigneusement dimensionnés dans le gazogène.
En fait, un secteur industriel complet s'est mis en place à l'époque pour fournir du bois sous une forme convenable pour le destiner à l'usage dans les véhicules (Reed et Jantzen 1979). Cependant, la conception rétrécie du foyer limite sérieusement les formes de bois-carburant envisageables sans prétraitement industriel. C'est cette limitation qui fait que le gazogène Imbert est moins flexible pour une utilisation en situation de crise. En bref, le modèle de gazogène Imbert de la Seconde Guerre Mondiale a tenu l'épreuve du temps et a été produit massivement avec succès. Il est relativement bon marché, utilise des matériaux simples, est facile à fabriquer et peut être utilisé par des automobilistes ayant reçu un minimum de formation.
1.3.2.The Stratified, Downdraft Gasifier
Until the early 1980's, wood gasifiers all over the world (including the World War II designs) operated on the principle that both the fuel hopper and the combustion unit be airtight; the hopper was sealed with a top or lid that bad to be opened every time wood was added. Smoke and gas vented into the atmosphere while new wood was being loaded; the operator bad to be careful not to breathe the unpleasant smoke and toxic fumes. Over the last few years, a new gasifier design bas been developed through cooperative efforts among researchers at the Solar Energy Research Institute in Colorado, the University of California in Davis, the Open University in London, the Buck Rogers Company in Kansas, and the Biomass Energy Foundation, Inc., in Florida (Reed and Das 1988). This simplified design employs a balanced, negative-pressure concept in which the old type of sealed fuel hopper is no longer necessary. A closure is only used to preserve the fuel when the engine is stopped. This new technology has several popular names, including 'stratified, downdraft gasification' and 'open top gasification.' Two years of laboratory and field testing have indicated that such simple, inexpensive gasifiers can be built from existing hardware and will perform very well as emergency units. A schematic diagram of the stratified, downdraft Gasifier is shown in Fig. 1-3. During operation of this gasifier, air passes uniformly downward through four zones, hence the name 'stratified:' 1. The uppermost zone contains unreacted fuel through which air and oxygen enter. This region serves the same function as the fuel hopper in the Imbert design. 2. In the second zone, the wood fuel reacts with oxygen during pyrolysis. Most of the volatile components of the fuel are burned in this zone and provide heat for continued pyrolysis reactions. At the bottom of this zone, all of the available oxygen from the air bas completely reacted. The open top design ensures uniform access of air to the pyrolysis region. 3. The third zone is made up of charcoal from the second zone. Hot combustion gases from the pyrolysis region react with the charcoal to convert the carbon dioxide and water vapor into carbon monoxide and hydrogen. 4. The inert char and ash, which constitute the fourth zone, are normally too cool to cause further reactions; however, since the fourth zone is available to absorb heat or oxygen as conditions change, it serves both as a buffer and as a charcoal storage region. Below this zone is the grate. The presence of char and ash serves to protect the grate from excessive temperatures. The stratified, downdraft design has a number of advantages over the World War II, Imbert Gasifier. The open top permits fuel to be fed more easily and allows easy access. The cylindrical shape is easy to fabricate and permits continuous flow of fuel. No special fuel shape or pretreatment is necessary; any blocky fuel can be used. The foremost question about the operation of the stratified, downdraft Gasifier concerns char and ash removal. As the charcoal reacts with the combustion gases, it eventually reaches a very low density and breaks up into a dust containing all of the ash as well as a percentage of the original carbon. This dust may be partially carried away by the gas; however, it might eventually begin to plug the Gasifier, and so it must be removed by shaking or agitation. Both the Imbert gasifiers and the stratified concept have a provision for shaking the grate; when they are used to power vehicles, they are automatically shaken by the vehicle's motion. An important issue in the design of the stratified, downdraft gasifier is the prevention of fuel bridging and channeling. High-grade biomass fuels such as wood blocks or chips will flow down through the gasifier under the influence of gravity, and downdraft air flow. However, other fuels (such as shredded wood, sawdust, and bark) can form a bridge that will prevent continuous flow and cause very high temperatures. Obviously, it is desirable to use these widely available biomass residues. Bridging can be prevented by stirring, shaking, or by agitating the grate or by having it agitated by the vehicle's movement. For prolonged idling, a hand-operated shaker has been included in the design. A prototype design of the stratified, downdraft gasifier design has been developed. The detailed but simple design is described and illustrated in Sect. 2; however, it has not been widely tested at this time. The reader is urged to use his ingenuity and initiative in constructing his own wood gas generator. As long as the principle of air-tightness in the combustion regions, in the connecting piping, and in the filter units is followed, the form, shape, and method of assembly is not important.
Fabriquer votre propre gazogène
Les instructions de fabrication qui suivent, les listes de pièces et les illustrations décrivent le prototype de gazogène schématisé dans l'illustration 1-3. Ces instructions sont simples et faciles à suivre. Les dimensions indiquées dans les plans sont données en pouces plutôt qu'en millimètres pour rendre la construction plus aisée pour ceux⋅celles qui seraient moins habitués au système métrique et pour permettre au⋅à la constructrice⋅eur de profiter des matériaux de constructions alternatifs et disponibles. Cela paraîtra évident à l'ingénieur⋅e, au⋅à la mécanicien⋅ne ou au⋅à la constructrice⋅eur expérimenté que la plupart des dimensions (par exemple les épaisseurs et les diamètres hors-tout) ne sont pas critiques pour une performance acceptable du gazogène final.
Le prototype de gazogène décrit ici a été construit et testé avec un tracteur agricole à moteur essence (un John Deer 1010 Special de 35 cheveaux-vapeur), voir illustration 2-1. Le gazogène a très bien fonctionné, à l'égal des modèles européens de la Seconde Guerre Mondiale, mais elle n'a pas subi l'épreuve du temps ni des millions d'heures de fonctionnement comme l'ancien modèle Imbert. Ce nouveau modèle stratifié à flux descendant a été développé pour la construction d'un gazogène de crise, simple et bon marché. La conception du prototype ci-après doit être considéré comme vraiment minimaliste en matière de matériaux, tuyaux, agencement des filtres et système de raccordement au carburateur.
Le gazogène, tel que décrit ci-après, est conçu pour conserver un refroidissement convenable, même une vitesse modérée du véhicule. Si ce gazogène vise à être utilisé dans des moteurs fixes ou des véhicules se déplaçant à faible vitesse, un système de refroidissement des gaz et un second filtre doivent être positionnés dans le système de canalisations entre le gazogène et le carburateur. Un gaz à la température idéale à l'entrée du collecteur du carburateur serait à 70°F (20°c), pouvant aller jusqu'à 140 à 160°F (60 à 70°c) en pointes. Tous les 10°F (5°c environ), environ 1 cheval-vapeur est perdu. Plus un gaz est froid, plus il est dense contenant ainsi plus de composants combustibles par unité de volume.
Les millions de gazogènes construits durant la Seconde Guerre Mondiale ont prouvé que le profil, la forme et le matériau de construction avaient pu d'influence sur le gazogène. Une substitution judicieuse ou l'utilisation de pièces réutilisées est, par ailleurs, tout à fait acceptable. Le plus important est :
- Les dimensions du tube de combustion (diamètre intérieur et longueur) doivent être déterminées correctement pour correspondre à la puissance du moteur de destination ;
- L'étanchéité à l'air du gazogène et de toutes les tuyauteries de raccordement doit être constamment garantie
- Il convient d'éliminer les frottements inutiles dans tous les passages d'air et de gaz en évitant les coudes brusques dans les conduites et en utilisant des conduites de taille suffisante.
Fabriquer l'unité de gazéification et la trémie de carburant
L'illustration 2-2 montre une vue éclatée du gazogène et de la trémie de carburant. La liste des matériaux correspondant est donnée dans la table 2-1 (l'index des illustrations et des tables mentionnés dans la présente section se retrouve à la fin de celle-ci). Seules les dimensions du tube de combustion (élément 1A) doivent être raisonnablement proches de celles indiquées. Toutes les autres dimensions et matériaux peuvent être modifié tant que l'étanchéité à l'air est assurée. Dans les instructions ci-après, la numérotation des éléments font référence à la fois à l'illustration 2-2 et à la table 2-1.
Le prototype décrit dans ce rapport a été construit pour alimenter un moteur de 35ch. Le gazogène a un tube de combustion de 6 pouces de diamètre (152mm, comme indiqué dans la table 2-2). Un gazogène composé d'un tube de combustion allant jusqu'à 9 pouces de diamètre (229mm, comme par exemple pour un gazogène adapté à un moteur de 65ch) peut être construit sur ces instructions. Si votre moteur nécessite un tube de combustion de 10 pouces ou plus (254mm), utilisez alors un fut de 55 galons (250L) pour l'unité de gaz et un autre identique pour la trémie de carburant.
La procédure de fabrication qui suit est très générale et peut être appliquée pour la construction de gazogènes de toutes tailles. Cependant, les dimensions spécifiques données dans la liste des pièces et dans les instructions qui suivent sont celles de ce prototype particulier. Toutes les photographies jointes ont été prises durant l'assemblage de notre prototype. Voici donc la procédure de fabrication :
- Déterminer les dimensions (diamètre intérieur et longueur) du tube de combustion (élément 1A) en utilisant le déplacement ou la puissance du moteur qu'il vous faut alimenter et en se référant à la table 2-2. Fabriquer alors un tube cylindrique ou couper un une longueur suffisante de tuyau pour correspondre aux dimensions de la table 2-2 (pour le prototype de ce rapport, il s'agit d'un tube de combustion de 6 pouces de diamètre pour 19 pouces de long, soit 483mm).
- La plaque ronde située en haut du tube de combustion (élément 2A) devrait être découpée pour atteindre un diamètre égal au diamètre extérieur du fut formant le corps inférieur du gazogène. Un trou circulaire devrait être découpé en son centre, dont le diamètre doit être égal au diamètre extérieur du tube de combustion. Alors le tube de combustion devrait être soudé à la plaque supérieure à angle doit (élément 2A), tel que présenté dans l'illustration 2-3.
- La grille (élément 4A) devrait réutiliser une passoire ou un bol inoxydable, comme dans l'illustration 2-4. Environ 125 trous de diamètre 0,5 pouces (12mm) devraient être perçés dans le fond en remontant sur les côtés du bol inox. Une fixation en U (élément 5A) sera fixé plus tard au mécanisme de l'agitateur (élément 12A).
- Les chaînes de support (élément 6A) doivent être fixées à la grille dans trois trous régulièrement espacés, percés sous le rebord du bol ou de la passoire, voir l'illustration 2-5. Ces chaînes doivent être connectées à la plaque supérieure (élément 2A) avec des crochets ou des œillets (élément 7A), comme indiqué dans l'illustration 2-6. Chaque œillet devrait avoir deux écrous, un de chaque côté de la plaque supérieure, de manière à pouvoir régler la hauteur de la suspension. Une fois assemblé, le fond du tube de combustion devrait se situer à 1,25 pouces (32mm) du bas de la grille (élément 2A).
- Un trou égal au diamètre extérieur du module de nettoyage des cendres (élément 8A) devrait être percé sur le côté du fut inférieur du gazogène (Item 3A). L'extrêmité basse de ce trou devrait être se situer à environ 0,5 pouces (12mm) du bas du fut inférieur du gazogène. À cause de la faible épaisseur de nos futs d'huile et de nos poubelles d'acier, la soudure n'est pas recommandée. Brazurer ces parties au fut ou aux poubelles assurera à la fois la robustesse et l'étanchéité (voir illustration 2-7).
- Deux trous, de diamètres égaux au diamètre des modules de mise à feu (élément 10A), seront faits en positionnant leur centre à une distance du haut du fut inférieur du gazogène égale à la longueur tube de combusion moins 7 pouces (178mm) (19 pouces - 7 pouces = 12 pouces dans le cas de notre prototype, 483 mm - 178mm = 305mm). Ces trous devront être diamétralement opposés, comme illustré dans l'illustration 2-2. Les modules de mise à feu devraient être brazés sur le corps du fut inférieur.
- Quand le module de nettoyage des cendres (élément 8A) et les modules de mise à feu (élément 10A) sont fixés au corps du fut inférieur du gazogène (élément 3A), ils devraient alors être fermés par des bouchons de plomberie, respectivement représentés par les éléments 9A et 11A. Le filetage des bouchons devrait être assuré par un silicone à haute températeur (élément 27A) pour améliorer leur étanchéité à l'air. Une barre de métal peut éventuellement être soudée à ces bouchons pour facilier l'ouverture ultérieure de ces bouchons.
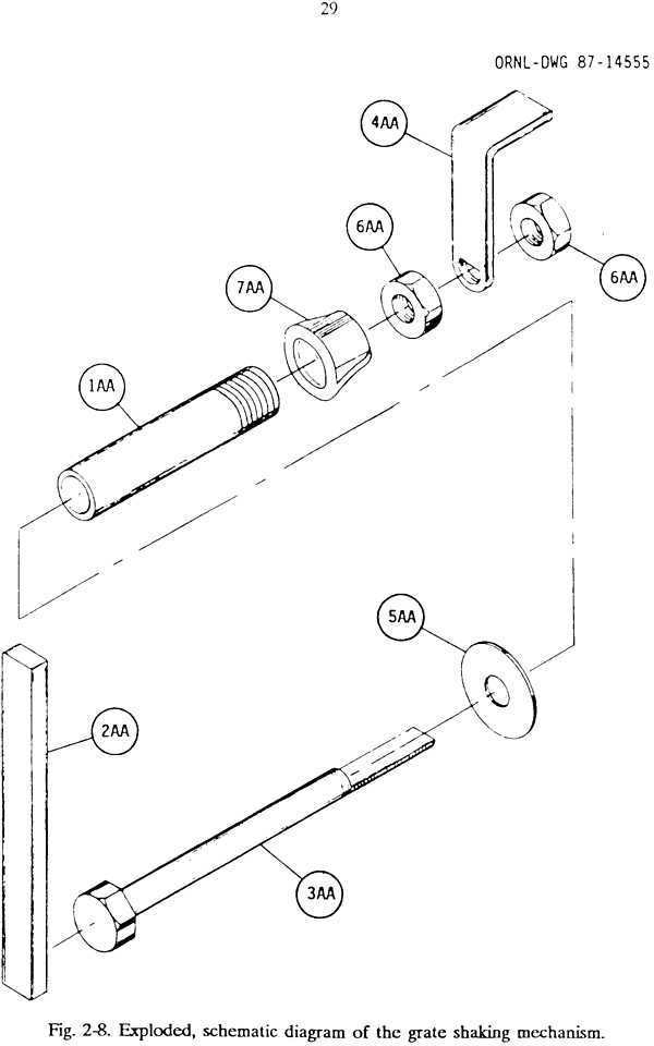
- L'assemblage de l'agitateur (élément 12A) est indiqué dans l'illustration 2-8. Le tuyaux de 0,5 pouces (12mm, élément 1AA) devrait être brasé sur le côté du fût inférieur (élément 3A), 1,5 pouces (38mm) au-dessus du fond du fut. La longueur de ce tuyau qui dépasse dans le tambour doit être choisie de manière à ce que la barre verticale (élément 2AA) soit alignée avec la fixation en U (élément 5A) de la grille, et que sa longueur soit suffisante pour qu'elle s'y enfiche correctement.
- Souder la barre verticale (élément 2AA) à la tête du boulon (élément 3AA). L'extrêmité filetée du boulon devrait être aplatie d'un côté, comme indiqué dans l'illustration 2-9, pour s'emboîter correctement dans une fente à percer et à limer dans la poignée (élément 4AA). La poignée peut prendre n'importe quelle forme souhaitée.
- Un trou devrait être percé dans le bouchon du tuyau (point 7AA) afin d'être parfaitement ajusté avec le boulon (élément 3AA), contribuant ainsi à assurer l'étanchéité du gazogène.
- Avant d'assembler l'agitateur, comme présenté dans l'illustration 2-8, enduire le boulon (élément 3AA) avec un peu de graisse. Avant d'insérer le boulon, remplir le tube (élément 1AA) avec de la silicone haute température (élément 27A) pour assurer l'étanchéité à l'air. Serrer les écrous (éléments 6AA) de telle manière que la poignée soit maintenue par frottement, mais toujours capable de tourner et de permettre l'agitation pendant les opérations de nettoyage ou pour le fonctionnement avec des moteurs stationnaires.
- Construire le support (élément 13A) du fut inférieur du gazogène (élément 3A) à partir de barres de fer rectangulaires. La forme et la hauteur des brides doit être déterminé par l'emplacement du véhicule où sera monté le gazogène. Les supports peuvent aussi bien être boulonné au fond et aux côtés avec les boulons de 114 pouces (2896mm, élément 14A) ou être brazé directement sur le fut (voir illustration 2-10). Ne pas oublier de sceller tous les trous de boulons pour assurer l'étanchéité.
- Couvrir complètement le fond du fut inférieur du gazogène (élément 3A) avec 0,5 pouces (13mm) avec du ciment hydrolique (élément 28A). Le ciment devrait également être appliqué sur les parois latérales du fut sur environ 5 pouces (127mm) de haut en partant du fond. Les arrêtes devraient être arrondies pour faciliter les opérations de nettoyage des cendres.
- La trémie de carburant (élément 15A) devrait être fabriquée à partir d'un second conteneur renversé, idéalement une poubelle en métal avec son couvercle, comme indique dans l'illustration 2-11. Retirer le fond du conteneur, en laissant une lèvre de 0,25 pouces (6mm) en circonférence.
- Une section de tuyau d'arrosage (élément 17A) d'une longueur égale au diamètre de la trémie de carburant (élément 15A) devrait être coupée sur toute sa longueur de manière à pouvoir être positionnée sur le périmètre (coupant) du haut de la trémie. L'idée est d'éviter les risques de coupure lors de l'ajout de carburant dans le gazogène. Pour assurer un bon ajustement du couvercle de la poubelle (élément 16A), un morceau de joint-adhésif (élément 18A) doit être fixé sous le couvercle à l'endroit où il entre en contact avec la trémie de carburant.
- Couper quatre barres de support (élément 19A) à la longueur de la trémie de carburant + 2,5 pouces (+ 63mm). Percer un trou de 3/8 de pouce (10mm) à 0,75 pouces (20mm) de chaque extrémité de chaque barre avant de les plier à angle droit à 2 pouces (50mm) de celles-ci. Ensuite, monter-les espacées uniformément autour de la trémie (élément 15A) avec les boulons de 0,25 pouces (6mm, élément 20A). Sur chaque barre, un des angles droits doit être positionné aussi prêt que possible du bord inférieur de la trémie.
- Couper quatre pièces triangulaires en métal (élément 21A) et les braser, souder ou riveter à plat contre le bord du couvercle de la poubelle (élément 16A) comme indiqué sur l'illustration 2-12. Elles doivent être alignées avec les quatre barres de support (élément 19A) fixées à la trémie de carburant. Durant le fonctionnement du gazogène, le couvercle de la poubelle doit laisser un passage d'air d'au moins 0,25 pouces (6mm). Les pièces devraient permettre ce passage, puisque enfichés dans les parties hautes des barres de support (élément 19A), voir illustration 2-13.
- Deux œillets à visser (élément 22A) devraient être fixés sur le couvercle de la poubelle (élément 16A), de manière diamétralement opposée. Deux ressorts "de porte moustiquaire" (élément 23A) doivent être fixés à la poignée de la poubelle et utilisés sous tension pour maintenir le couvercle supérieur (point 16A) ouvert ou fermé.
- Couper un collier de cerclage (élément 24A) (issu par exemple d'un fut d'huile) au diamètre exact de la plaque supérieur (élément 2A) de manière à ce qu'il s'adapte parfaitement autour du fut inférieur du gazogène.
- Couper quatre languettes de 2x2x0,25 pouces (50x50x6mm, élément 25A) et les brazer sur le collier de cerclage (élément 24A), uniformément réparties et alignées avec les barres de support (élément 19A). Le collier de cerclage est visible dans l'illustration 2-14.
- La durite de connexion (élément 19A) entr l'unité de gazéification et l'unité de filtration du gazogène devrait être fixé au fut inférieur (élément 3A) à 6 pouces (152mm) en-dessous du haut du fut. Cette durite doit faire au moins 2 pouces (50mm) de diamètre, et devrait faire au moins 6 pieds (1,8m) de long à des fins de refroidissement. Au moins l'une des extrêmités de cette durite devrait être démontable à des fins de nettoyage et de maintenance. Dans notre prototype un connecteur de conduit électrique étanche à l'air fut utilisé. Ce connecteur est visible dans l'illustration 2-1. Il existe de nombreuses pièces de plomberie utilisables à condition qu'elles supportent des températures de 400°F (200°c) et plus. Cette durite peut également être soudée ou brazée directement sur le fut inférieur.
- Lors de l'assemblage de l'unité de gazéification, la barre verticale (élément 2AA) de l'agitateur doit être placé dans la fixation en U (élément 5A) de la grille.
- Le collier de cerclage viendra enfin solidariser ensemble le fut inférieur (élément 3A) et la plaque supérieure (élément 2A). Les barres de support de la trémie de carburant (élément 19A) doivent être fixées sur les languettes (élément 25A) du collier de cerclage avec des boulons (élément 26A). Du silicone haute température devrait venir sceller hermétiquement l'assemblage. La partie basse des fixations du collier de cerclage est visible dans l'illustration 2-13.
Fabriquer le filtre primaire
Les illustrations 2-15 et 2-16 montrent une vue éclatée du filtre primaire. La liste des matériaux est donné dans le tableau 2-3 (toutes les illustrations et les tableaux de la section 2 sont présentés à la fin de cette section 2). Dans les instructions qui vont suivre, tous les éléments numérotés réfèrent aux illustrations 2-15 ou 2-16, et au tableau 2-3.
Le prototype de filtre primaire a été produit à partir d'un pot de peinture de 5 gallons (22L). Cette taille semble suffisante pour les gazogènes avec des tubes de combustion jusqu'à 10 pouces (482mm) de diamètre. Pour les tubes de combustion de diamètre supérieur, un pot de 100L ou un fut de 120L d'huile devrait être envisagé. Le filtre peut prendre n'importe quelle forme du moment que son étanchéité à l'air est assurée et qu'il ne provoque pas d'obstruction au flux de gaz. Si un pot de 5 gallons (22L) est utilisé, il doit être propre et libre de tout résidu chimique. L'arête supérieure doit être droite et sans accrocs. Si un autre conteneur était trouvé ou fabriqué, un plus grand diamètre permet un fonctionnement plus long entre les opérations de nettoyage.
La durite (élément 29A dans les illustrations 2-2 et 2-15) qui connecte l'unité de gazéification au filtre primaire est une partie essentielle du système de refroidissement et ne devrait jamais faire moins de 2 pouces (50mm) de diamètre. Un tuyau d'échappement automobile flexible a été utilisé sur le filtre du prototype décrit ci-dessous. Il a été modelé en demi-cercle afin de pouvoir augmenter sa longueur sans augmenter son encombrement, et assurer pour autant un refroidissement optimisé. La procédure de fabrication du filtre est la suivante :
- Percer un trou d'un diamètre égal au diamètre extérieur du tube de drainage (élément 13B de l'illustration 2-15) dans le corps du filtre (élément 1B). L’extrémité basse de ce trou devrait se situer à environ 0,5 pouce (13mm) au dessus du fond (intérieur) du corps du filtre.
- Le tube de drainage (élément 13B) devrait être introduit dans le trou percé précédemment dans le corps du filtre et positionné de manière à ce que son extrémité non filetée arrive proche du centr et à environ 0,5 pouces du fond du centre du corps du filtre. Une fois sa position fixée, braser (ne pas souder) le tube de drainage sur la paroi du corps du filtre. Clore la partie extérieur filetée du tube de drainage avec un bouchon de plomberie (élément 14B).
- Couvrir le fond du corps du filtre (élément 1B) avec une couche de 0,5 pouce (13mm) de ciment hydrolique (élément 28A), en faisant attention de ne pas obstruer le tube de drainage (élément 13B) avec du ciment (par exemple, ne pas hésiter à remplir le tube de drainage avec du papier, du polystiren, ou tout autre matériau solide mais facile à retirer). Le ciment devrait aussi être appliqué sur les rebords, jusqu'à environ 1,5 pouce (38mm) de hauteur. Arrondir légèrement les angles. Le ciment sert à guider tout liquide qui viendrait à se condenser vers le tube de drainage. Il faut attendre que le ciment ait correctement pris avant de poursuivre la fabrication avec les étapes suivantes. Retirer les matériaux ajoutés au tube de drainage une fois le ciment pris.
- Une plaque inférieure ronde (élément 2B) devrait être découpée à un diamètre de 0,5 pouce (13mm) inférieur au diamètre intérieur du corps du filtre (élément 1B). Cette différence permet une certaine dilatation et facilité la maintenance. Cette plaque inférieure devrait être percée d'autant de trous de 0,75 pouce (19mm) que possible. Trois trous de 3/8è de pouce (10mm) espacés régulièrement devraient aussi être percés en périphérie de la plaque inférieure, pour les boulons d'espacement (élément 3B).
- L'illustration 2-16 montre le détail de la mise en place des 3 boulons d'espacement (élément 3B) pour la plaque inférieure (élément 2B). La longueur des boulons devrait permettre d'écarter la plaque inférieure (élément 2B) de 2 pouces du ciment formant le fond du corps du filtre (élément 1B).
- Un séparateur (élément 4B) devrait être découpé à une largeur de 0,25 pouce (6mm) plus petite que le diamètre intérieur du corps du filtre (élément 1B) et à une hauteur de 2,5 pouces plus petite que sa hauteur intérieure (ciment inclus). Le séparateur devrait être soudé à angle droit sur un diamètre de la plaque inférieure (élément 2B) comme indiqué sur l'illustration 2-17.
- Couper un morceau de tuyau hydraulique de haute température (élément 5B) à une longueur égale au périmètre du corps du filtre. Entailler alors celui-ci sur toute sa longueur et positionner-le sur le haut du corps du filtre (élément 1B) pour assurer son étanchéité à l'air.
- Un couvercle circulaire (élément 6B) devrait être découpé de manière à pouvoir être ajusté à l'extérieur du corps du filtre (élément 1B). Trois trous devraient alors être percés dans ce couvercle pour le tuyau d'échapement (élément 29A) en provenance de l'unité de gazéification, la soufflerie (élément 7B) et le tuyau d'alimentation (élément 10B) du collecteur du moteur. La disposition des ces trois trous doit être : le tuyau d'échappement de l'unité de gazéification (élément 29A) d'un côté du séparateur (élément 4B) et la soufflerie (élément 7B) et le tuyau d'alimentation (élément 10B) de l'autre. Cette disposition est précisée dans l'illustration 2-18.
- Le tuyau d'échappement (élément 29A) reliant l'unité de gazéification et l'unité de filtration devrait être fixé au couvercle (élément 5B) du corps du filtre. Au moins une des extrémités du tuyau (élément 29A) doit être amovible pour le nettoyage et la maintenance. Dans notre prototype de gazogène, un connecteur de conduit électrique étanche a été utilisé. De nombreux matériaux de plomberie existent et peuvent être utilisé dès lors qu'ils résistent à des températures de 200°c et plus. Le tuyau peut aussi être brasé directement sur le couvercle.
- Fixer la soufflerie (élément 7B) au couvercle du corps du filtre (élément 6B). Dans notre prototype, un ventilateur de chauffage d'une automobile Volkswagen a été utilisé. Des connecteurs pour un tube vertical extenseur (élément 8B) devront être fabriqués tel que visible dans l'illustration 2-19. Un clapet (élément 9B) est nécessaire pour le tuyau d'échappement de la soufflerie. Un bouchon de plomberie en métal ou en plastique avec une taille proche peut être utilisé ou fabriqué à façon. Le tube vertical extenseur et le bouchon sont visibles dans l'illustration 2-1.
- La sortie de gaz (élément 10B) vers l'unité de carburation devrait être d'un diamètre mi.nimal de 1,25 pouce (30mm). Lors de la fabrication de cette durite, veiller à éviter les coudes et les plis de manière à ce que le gaz puisse circuler sans effort. Utiliser des coudes de plomberie est une option. La sortie de gaz (élément 10B) peut aussi bien être soudé que brazé au couvercle (élément 6B) du corps du filtre ou bien un connecteur de conduit électrique étanche peut être utilisé.
- Les éléments de verrouillage (élément 11B) devrait être soudé ou brasé au couvercle (voir l'illustration 2-20) et aux côtés (voir l'illustration 2-21) du corps du filtre. L'étanchéité entre le corps du filtre et son couvercle doit être assurée.
- Couper deux sections de tuyau hydraulique haute température (élément 12B) de la hauteur du séparateur (élément 4B), puis une troisième section de la taille de la largeur du séparateur. Entaillez-les sur toute leur longueur. Placer ensuite ces sections sur les côtés et en haut du séparateur, comme indiqué dans l'illustration 2-17.
- Insérer ensuite le séparateur (élément 4B) dans le corps du filtre (élément 1B), en veillant à ce que les tuyaux précédemment positionnés (élément 12B) étanchéifient bien les côtés. En modifiant la longueur des boulons d'espacement (élément 3B), ajuster la hauteur du séparateur de manière à ce qu'il affleure exactement en haut du corps du filtre. Assurer que le couvercle (élément 5B) prenne place à plat et de manière ajustée sur le haut du séparateur.
- Remplir de copeaux de bois le corps du filtre (élément 1B), des deux côtés. Il peut s'agir des mêmes copeaux que ceux utilisés comme carburant dans l'unité de gazéification. Après avoir soigneusement disposé et mis à niveau ces copeaux de bois, placer le couvercle (élément 6B) sur le corps du filtre, et fermer les loquets fermement.
Fabriquer l'unité de carburation et ses commandes d'air et de gaz
Les illustrations 2-22 et 2-23 montrent une vue éclatée de l'unité de carburation. La liste des matériaux est donné dans la table 2-4 (toutes les illustrations et tables mentionnées dans la section 2 sont présentées à la fin de la section 2). Dans les instructions suivantes, tous les éléments numérotés font référence aux illustrations 2-22 et 2-23 et à la table 2-4. Ce qui suit est une manière simple et facile d'assembler un carburateur qui permet à la fois le mélange d'air et la commande d'accélérateur. Le carburateur peut être monté sur des collecteurs à courant ascendant ou descendant simplement en le retournant. Une grande partie de la procédure ci-après est dédiée à l'assemblage des deux vannes papillon, l'une étant utilisée pour la commande d'accélérateur, et l'autre pour le mélange d'air. Le reste du carburateur peut être assemblé à partir de pièces de plomberie filetées classiques.
Le diamètre intérieur de la tuyauterie utilisée par le carburateur doit être corrélé avec la taille du moteur et ne devrait jamais être plus petit que l'ouverture d'admission sur le collecteur du moteur. Si un doute subsiste sur la taille du diamètre intérieur des tuyaux et autres durites, il convient de toujours choisir le diamètre le plus grand. Cela contribuera à réduire les pertes liées à la friction des gaz sur les parois et vous offrira de plus longues durées d'opération entre les opérations de nettoyage.
Quand le gaz de bois sort de l'unité de filtration il devrait normalement se trouver à une température inférieure à 180°F (80°c). À environ 2 pieds (60cm) du corps du filtre, une durite d'eau automobile relativement neuve peut être raccordée au tuyau solide du carburateur. Cette durite souple empêchera que les vibrations du moteur créent des fuites d'air dans l'unité de filtration ou dans la tuyauterie de raccordement. Ces durites sont agrémentées d'un ressort en acier à l'intérieur qui les empêche de s'effondrer lorsqu'une pression négative est appliquée. Si elles sont usagées et donc si elles ont déjà été exposée à de l'eau, alors le gaz de bois chaud enrichi en hydrogène les ferait rapidement rouiller.
La procédure d'assemblage des deux vannes papillon est la suivante :
- La pièce permettant le raccord au collecteur du moteur (élément 1C dans l'illustration 2-22) doit être adaptée à ce dernier, avec des trous ou des boulons en fonction en fonction du collecteur visé. Parce qu'il existe autant de collecteurs que de moteurs essence, l'ingéniosité et le sens pratique doivent commander pour façonner l'adaptateur au collecteur (élément 1C) du moteur devant être alimenté par le gazogène. Un joint (élément 7C) devrait être découpé pour s'adapter parfaitement à la jonction entre le carburateur du gazogène et le collecteur du moteur.
- La vanne papillon (élément 3C) est présenté dans les illustrations 2-24 et 2-25. Deux vannes de ce type sont nécessaires. Un trou de 3/8è de pouce (10mm) devrait être percé en travers de chaque corps des vannes (élément 1CC) en plein milieu de celui-ci.
- L'obturateur de vanne (élément 2CC) devrait être de forme ovale, de dimensions données dans la table 2-4. Un obturateur oval doit être utilisé afin que, en position fermée, la vanne soit décentrée d'environ 10o, ce qui assuera que la vanne soit en butée quand elle est en position fermée.
- Les côtés de l'obturateur (élément 2CC), autour du plus grand diamètre de l'oval, devrait être biseautés pour assurer une fermeture positive et étanche à l'air. Deux trous de 0,25 pouces (6mm) devraient être percés de manière régulière dans le petit diamètre de l'oval.
- La tige de support de la vanne (élément 3CC) devrait être limée ou aplatie sur un côté, tel qu'indiqué dans l'illustration 2-24. La partie plate doit démarrer à 0,25 pouces (6mm) d'une extrêmité et finir à une distance égale au diamètre intérieur du corps de la vanne (élément 1CC).
- 3 trous de 3/16è de pouce (5mm) devraient être percés dans la partie plate de la tige de support de vanne (élément 3CC). Ces trous devraient s'aligner avec les trous dans l'obturateur de vanne (élément 2CC). Ils doivent aussi être filetés pour pouvoir accueillir les vis de l'obturateur (élement 4CC).
- La vanne papillon (élément 3C) devrait être assemblée en positionnant tout d'abord la tige de support de vanne (élément 3CC) à travers les trous faits dans le corps de la vanne (élément 1CC). L'obturateur (élement 2CC) peut alors être introduit par l'une des extrêmités du corps de la vanne, et ensuite appliqué contre la partie plate de la tige. Les deux vis (élément 4CC) permettent alors de fixer l'obturateur à la tige. Vérifier que la vanne assemblée s'ouvre et se ferme sans contrainte et se ferme parfaitement.
- Un écrou (élément 6CC) devrait être soudé à plat contre un côté du bras d'accélération (élément 5CC), à une extrêmité. Un trou de 1/8è de pouce (10mm) devrait être percé et taraudé dans le côté de l'écrou pour pouvoir accueillir la vis de réglage (élément 7CC). Au moins un trou devrait être percé dans le bras d'accélération pour permettre la fixation du mécanisme d'accélération du moteur ou du lien avec le contrôle de l'alimentation en air.
- Placer l'écrou (élément 6CC) du bras d'accélération sur l'extrémité de la tige de support de vanne (élément 3CC) et utiliser la vis de réglage (élément 7CC) pour solidariser l'assemblage. Le bras d'accélération peut être disposé dans n'importe quelle orientation. Les vannes papillons assemblées sont visibles dans l'illustration 2-26.
- Les parties restantes du carburateur devraient être vissées ensemble comme indiqué dans l'illustration 2-27. Des joints ou du frein-filet devrait être utilisé pour assurer l'étanchéité à l'air de l'ensemble. Le carburateur devrait être raccordé au collecteur du moteur tel que montré dans l'illustration 2-28.
- Ce prototype de gazogène a été conçu pour fonctionner en cas d'indisponibilité d'essence, mais si la double carburation essence / gaz de bois est souhaitée, le coude (élément 2C) peut être remplacé par un Té, permettant le montage d'un carburateur essence.
- Le bras de la vanne papillon (élément 3C) la plus proche du coude (élément 2C) doit être connectée au système d'accélération, par exemple la pédale ou manette d'accélération. L'autre vanne papillon est utilisée comme contrôle du mélange air-gaz, et peut être commandée par un câble manuel. Si le moteur dispose d'un mécanisme automatique d'étouffement, alors un câble à commande manuelle devrait être installé. Les deux vannes papillon et le mécanisme les liant doivent bouger sans frottement, en gardant la possibilité d'ajuster la vanne
Les deux vannes papillon et leurs tringleries de commande doivent aller et venir sans frottement et permettre de régler la vanne tout en la maintenant immobile dans la position choisie pendant le fonctionnement du moteur. La tringlerie de contrôle doivent fermer les vannes de manière hermétique lorsque le moteur est éteint.
- L'admission d'air (élément 6C) devrait être connecté au filtre à air d'origine du moteur par une durite ou un tuyau d'extension, en plastique ou en métal, et ce afin d'éviter que des impuretés entrent dans le moteur.
- L'admission de gaz (élément 5C) doit être relié à la tuyau d'alimentation (élément 10B, comme indiqué dans l'illustration 2-15) venant de l'unité de filtration. Une partie de ce lien devrait être assuré par une durite souple pour absorber les vibrations du moteur.
Illustrations de la section
Tables de la section
| Élément | Quantité | Description |
|---|---|---|
| 1A | 1 | Tube ou tuyau métallique, cylindre métallique dont les deux extrémités sont ouvertes ; diamètre et longueur à retrouver dans la Table 2-2 ; Épaisseur minimale des parois : 0,25 pouce (6mm) |
| 2A | 1 | Plaque ronde en métal d'une épaisseur de 1/8è de pouce (3mm) ; diamètre égal au diamètre extérieur de l'élément 1A |
| 3A | 1 | Fut de 120L (d'huile par exemple) ou conteneur métallique possédant un fond et aux dimensions approximatives de 18 pouces (46cm) de diamètre pour 29 pouces de hauteur (74cm). |
| 4A | 1 | Bol, récipient ou autre bol en acier inoxydable de 10 pintes (5L) d'un diamètre d'environ 14 pouces (36cm) et d'une profondeur de 6 pouces (15cm). |
| 5A | 1 | Fixation en U de 2 pouces (5cm) |
| 6A | 1 | Chaîne de 3/16è de pouce (5mm) avec des liens de 1 pouce (2,5cm), d'une longueur de 18cm |
| 7A | 3 | Des boulons-œillets de 0,25 pouce (6mm), d'une longueur de 3 pouces (76mm) avec deux écrous pour chaque boulon-œillet |
| 8A | 1 | Petit tube en acier fileté des deux côtés de 4 pouces (10cm) |
| 9A | 1 | Bouchon en métal pour l'élément 8A |
| 10A | 2 | Petit tube en acier fileté des deux côtés de 3 pouces (76mm) |
| 11A | 2 | Bouchon en métal pour l'élément 10A |
| 12A | Assemblage de l'agitateur, voir l'illustration 2-8 | |
| 1AA | 1 | Tuyau métallique de 0,5 pouce (13mm), de 6 pouces (152mm) de longueur |
| 2AA | 1 | Barre de fer, carrée ou ronde, de 0,5 pouce (13mm) pour 6 pouces (152mm) de longueur |
| 3AA | 1 | Boulon de 0,5 pouce (13mm), de 8 pouces (200mm) de longueur |
| 4AA | 1 | Barre de fer, rectangulaire, de 0,25x1 pouce (6x25mm) pour 10 pouces (25cm) de longueur |
| 5AA | 1 | Rondelle plate de 0,5 pouces (13mm) |
| 6AA | 2 | Écrou de 0,5 pouce (13mm) |
| 7AA | 1 | Bouchon en métal pour l'élément 1AA |
| 13A | 1 | Barre de fer rectangulaire de 0,25x50x10 pouces (6x5x250mm) |
| 14A | 25 | Boulons de 0,25 pouce (6mm) pour 114 pouces (2900mm) de long |
| 15A | 1 | Poubelle en acier galvanisé ou en métal de 20 gallons (90L), avec des dimensions idéales de 18 pouces (45cm) de diamètre en haut pour 24 pouces de haut (61cm). Le fond de la poubelle n'est pas nécessaire. |
| 16A | 1 | Couvercle pour l'élément 15A |
| 17A | 1 | Tuyau de jardinage, de 12 à 15mm, de la longueur de l'élément 15A |
| 18A | 1 | Joint adhésif, 0,25 à 1 pouce (6 à 25mm) de large, 10 pouces (250mm) de long |
| 19A | 1 | Bar de fer rectangulaire, 0,25x2 pouces (6x50mm), 10 pouces (250mm) de long |
| 20A | 12 | Boulons de 6mm, 19mm de long, avec leurs écrous |
| 21A | 4 | Triangles en métal, 2x2,25 pouces (50x57mm), 3 à 6mm d'épaisseur |
| 22A | 2 | Œillet à visser |
| 23A | 2 | Ressorts "porte de moustiquaire" de 14 pouces (356mm) de long |
| 24A | 1 | Collier de cerclage pour fut de 120L |
| 25A | 4 | Carré en métal, 2x2 pouces (50x50mm), 6mm d'épaisseur |
| 26A | 4 | Boulons de 9mm et 76mm de long |
| 27A | 1 | Tube de silicone haute température ou du joint liquide haute température. |
| 28A | 1 | Sac de ciment hydraulique ou autre ciment imperméable [tel que SEC-PLUG (tm), fabriqué par Atlas Chemical Company, Miami, FL]. |
| 29A | 1 | Tuyau de 2 pouces (50mm), conduit électrique, tuyau d'échappement automobile flexible ou autre tube métallique ; longueur minimale de 6 pieds (15cm). Le tuyau doit pouvoir résister à des températures de 400°F (100°C). |
| Diamètre intérieur (mm) | Longueur minimum (mm) | Puissance du moteur (ch) | Déplacement type du moteur (en cm³) |
|---|---|---|---|
| 50* | 406 | 5 | 163 |
| 101* | 406 | 15 | 325 |
| 152 | 406 | 30 | 650 |
| 180 | 457 | 40 | 1300 |
| 203 | 510 | 50 | 1600 |
| 230 | 560 | 65 | 2100 |
| 254 | 610 | 80 | 2600 |
| 280 | 660 | 100 | 3200 |
| 305 | 710 | 120 | 3900 |
| 330 | 812 | 140 | 4600 |
| 356 | 813 | 180 | 5200 |
* Un tube de combustion avec un diamètre inférieur à 6 pouces (152mm) risque de créer des probèmes de pontage avec les copeaux de bois et les blocs. Si le moteur est donné pour 15ch ou moins, utiliser un tube de 6 pouces (152mm) au moins, et créez une gorge de rétrécissement en bas du tube, correspondant au diamètre indiqué dans la table.
NOTES: Les chiffres donnés ici sont convertis depuis le système américain des pouces, et contient donc une approximation nécessaire mais minime. (NdT) Les puissances indiquées ici est la puissance SAE nette telle que mesurée à l'arrière de la transmission avec des accessoires de mesure standard. Puisque les nombres varient pour un même moteur en fonction de ses usages, ils sont donnés de manière plus représentative qu'exacte. Les puissances moteurs sont données pour la plus grande vitesse du moteur.
Utiliser et maintenir votre gazogène
Utiliser du bois comme carburant
Parce que le bois a été utilisé largement comme source de carburant durant la Seconde Guerre Mondiale, et comme c'est une ressource abondante dans de nombreuses régions des USA, il mérite une attention particulière en tant que source d'énergie d'urgence. Quand le bois est utilisé dans des gazogènes, environ 9kg de bois vaut environ 4,5L d'essence (l'énergie potentielle massique du bois vaut environ 55% de celle de l'essence). Le bois est constitué de carbone, d'oxygène, d'eau et d'une petite portion d'azote.
En tant que carburant gazogène, le bois a de nombreux avantages. Les résidus solides sous forme de cendre sont assez faibles, environ 0,5 à 2% de la masse d'origine, dépendant des variétés de bois et de la présence d'écorce. Le bois est exempt de sulfure, composé dangereux formant de l'acide sulfurique corrodant à la fois le moteur et le gazogène. Le bois est facilement inflammable, ce qui est certainement une propriété facilitante pour n'importe quel gazogène.
Les principaux désavantages du bois-carburant est son encombrement et son humidité. Comme c'est une matière relativement légère, 1m³ de bois produit seulement 300 à 360kg de carburant gazogène. L'humidité est notoirement élevée dans les carburants à base de bois, et elle doit être réduite à moins de 20% (de sa masse) avant de pouvoir être utilisée dans un gazogène. L'humidité contenue dans du bois vert va de 25 à 60% de la masse du bois. Dans le bois séché à l'air, entre 12 et 15%. Dans le bois séché au four, environ 8%. L'humidité peut être mesurée assez facilement en pensant un morceau témoin, en le plaçant au four à 105°c durant 30 minutes, en pesant à nouveau le témoin, et en le chauffant à nouveau jusqu'à ce qu'il déscende à un poids stable. La quantité d'humidité originelle est égale au poids perdu auquel il faut ajouter 8% du poids stable obtenu, divisé par le poids initial du morceau témoin, et l'on multiplie le résultat par 100 pour l'avoir en pourcentage.
Le prototype de gazogène de ce manuel (avec un tube de combustion de 6 pouces (150mm) a très bien fonctionné avec des copeaux de bois (taille minimum : 20x20x6mm) et avec des petits cubes de bois (jusqu'à 50mm de côté), voir l'illustration 3-1 (toutes les illustrations et tables mentionnés dans la section 3 sont visibles en fin de section 3). Des morceaux de bois plus conséquents peuvent être utilisés, si le diamètre du tube de combustion est aggrandi pour éviter que des morceaux de bois ne forment des ponts en empêchent ainsi leur écoulement gravitaire. Bien entendu, une sorte d'entonnoir devrait alors être ajoutée au fond du tube de fumée afin de satisfaire aux dimensions du tableau 2-2 dans la section 2.
Considérations spécifiques et modifications du moteur
Pour démarrer le foyer du gazogène, la soufflerie doit être utilisée pour créer un flux d'air à travers le carburant dans la trémie et à travers le tube combustion. Si le gazogène doit alimenter un moteur particulièrement puissant, l'installation de deux souffleries, à utiliser simultanément au démarrage du moteur, peut s'avérer nécessaire. Quand le gaz de bois quitte l'unité de gazéification, tout l'oxygène amené par le haut à travers le tube de combustion a été transformé chimiquement en monoxyde de carbone (CO) et en eau (H2O). Le gaz de bois ne peut alors pas brûler sans adjonction d'une quantité appropriée d'oxygène.
Si une fuite d'air apparaît après la grille, le gaz chaud brûlera en consommant l'oxygène disponible, et créera alors de la chaleur. Sans détection précoce, cela devrait probablement aboutir à la destruction du gazogène. Si une fuite apparaît dans l'unité de filtration ou dans les durites, le gaz sera alors composé de mauvaises proportions d'oxygène et deviendra alors trop dilué pour faire fonctionner le moteur. C'est pourquoi l'étanchéité à l'air à partir de l'unité de gazéification jusqu'au moteur est cruciale.
Idéalement, le gaz qui entre dans le collecteur du moteur devrait être mélangé à l'air à un ratio air-gaz de 1:1 ou 1.1:1. Le système de carburation décrit dans ce rapport permet une alimentation de gaz mélangé avec le minimum de pertes de friction dans la tuyauterie. Les valves d'alimentation en air et en gaz devraient être opérables depuis le poste de conduite du véhicule. L'écartement des bougies moteur devrait être réglé entre 0,012 et 0,015 pouce (0,30 et 0,38mm) et le calage de l'allumage devrait être réglé sur "précoce".
Procédure de mise en marche initiale
Au premier lancement, vous allez devoir ajouter du charbon de bois sur la grille située sous le tube de combustion. Pour les lancements suivants, du charbon de bois produit par la précédente combustion sera encore présent sur la grille évitant cette opération. Remplir ensuite le tube de combustion avec du charbon sur 4 pouces de haut au-dessus de la grille. Remplir ensuite la trémie à carburant avec du bois séché à l'air. Ensuite, suivez les instructions de mise en marche habituelle ci-après.
Le charbon de bois pour barbecues ne convient pas vraiment pour les gazogènes. Pour produire un charbon de bois de qualité suffisante, placer un chiffon imbibé d'alcool ou 3 à 5 pages de papier journal sur la grille, et remplir ensuite le tube de combustion de 10 à 12 pouces (25 à 30cm) de bois parfaitement sec. Fermer toutes les vannes et laisser le tube de combustion agir comme une cheminée jusqu'à ce que le bois soit transformé en charbon.
Procédure de mise en marche habituelle
- Actionnez la poignée de l'agitateur pendant au moins 20 secondes pour faire descendre le charbon de bois produit par la précédent cycle.
- Ouvrir la trappe de nettoyage des cendres et retirer les cendres du corps inférieur du gazogène. Lubrifier le filetage de la trappe de nettoyage avec du silicone haute température, et fermer le couvercle de la trappe de manière hermétique.
- Remplir la trémie de carburant avec le bois-carburant, et compressez doucement le carburant vers le bas. Laisser le couvercle du gazogène ouvert ou l'ajuster pour une ouverture de 0,75 pouce (2cm) ou plus.
- Fermer les vannes du carburateur et retirer le bouchon de la soufflerie en haut de l'unité de filtration. Lancer la soufflerie, et la laisser tourner pour 30 secondes à vide, afin d'éviter tout risque d'explosion du gaz résiduel. Ensuite, alors que la soufflerie est encore en marche, continuer à l'étape suivante.
- Ouvrir le module de mise à feu, et allumer un morceau de papier journal de 12x12 pouces (30x30cm). Avec un long bâton de bois, pousser la feuille de papier journal jusqu'à la grille, comme indiqué dans l'illustration 3-2. Fermer le module de mise à feu. Si aucune fumée n'apparaît par le pot d'échappement de la soufflerie, reprendre la séquence de démarrage à partir de l'étape n°5. Si plusieurs tentatives sont infructueuses, du nouveau charbon de bois doit être ajouté tel que décrit dans la section précédente, et la procédure de mise à feu devra être reprise.
- Après quelques minutes d'échappement enfumé, tester le gaz à la sortie du pot d'échappement de la soufflerie en tentant de l'allumer avec précautions, voir l'illustration 3-3. Quand le gaz brûle de manière continue, arrêter la soufflerie et fermer le pot d'échappement de la soufflerie avec son bouchon.
- Ouvrir la vanne de contrôle de l'air au niveau du carburateur, ajuster l'accélérateur du moteur, et démarrer le moteur de manière conventionnelle. Laisser le moteur chauffer doucement (2 à 5 minutes). Si le moteur n'arrive pas à démarrer ou s'étouffe à répétition, relancer la soufflerie et redémarrer la mise en marche à partir de l'étape n°4.
Pilotage et fonctionnement normal
Changer les vitesses de manière à garder le régime moteur (tours par minute) constamment élevé. Se rappeler que c'est le vide produit par les pistons qui fournit la force déplaçant le gaz dans le gazogène, depuis l'unité de gazéification jusqu'au moteur. Recharger la trémie de carburant (tel que montré dans l'illustration 3-4) avant qu'il ne soit complètement vide, mais éviter toute recharge juste avant l'extinction du moteur. Agiter régulièrement la grille afin de faire tomber les cendres. Si votre système est équipé d'un refroidisseur de gaz, en vidanger l'eau de temps en temps.
Par temps sec, le gazogène peut fonctionner sans le couvercle de la trémie. Cependant, quand le gazogène est éteind, la trémie doit être fermée de manière à éviter toute entrée d'air, évitant ainsi toute combustion. Par temps humide ou pluvieux, le couvercle doit être placé sur la trémie de carburant, relevé d'environ 2 pouces (5cm), jusqu'à ce que les pièces triangulaires soient alignées avec les trous dans les barres de support. La tension exercée par les ressorts maintiendra alors le couvercle en place. Voir l'illustration 3-5 pour plus de précisions.
Extinction du gazogène
Lors de l'extinction du gazogène, éteindre le contact du moteur et ouvrir durant 10 secondes la vanne de contrôle de l'air du carburateur pour évacuer toute pression de l'intérieur du système. Ensuite, fermer complètement cette vanne, et rabattre fermement le couvercle de la trémie sur cette dernière. Pour un redémarrage après un court arrêt, laisser le moteur chauffer rapidement. Après un arrêt plus long (jusqu'à 1h), tasser légèrement le carburant et essayer de relancer le foyer avec la soufflerie sans chercher à rallumer le tube de combustion. Après des arrêts vraiment longs (plus de 2h), le charbon doit être à nouveau rallumé pour permettre au système de repartir.
ROUTINE MAINTENANCE
Periodically check all nuts on the gasifier unit, the fuel hopper, the filter unit, and the carburetor for snugness; check all penetrations and fittings for airtightness. In addition, perform the following maintenance activities as scheduled:
Daily Maintenance
Open the ash clean out port of the gasifier housing drum and remove the ashes after shaking the grate for at least thirty seconds. Replace the cover of the port after coating the threads with high-temperature silicone to ensure airtightness. Open the drain tube, at the bottom of the filter container and allow any liquid condensate to drain out; remember to close the drain tube when finished.
Weekly Maintenance (or every 15 hours of operation)
Clean out the gasifier housing drum, the fuel hopper, and the filter. Rinse out the piping and connections to and from the filter. Replace the wood chips inside the filter, (The used wood chips from the filter can be dumped into the fuel hopper and burned to produce wood gas.) Use high-temperature silicone on all pipe connections and on the filter lid to ensure air tightness.
Biweekly Maintenance (or every 30 hours of operation)
Make sure that all pipe connections are secure and airtight. Check and tighten all mounting connections to the vehicle chassis. Check for rust on the outside of the gas generator housing drum, especially on the lower region. Coat with high-temperature protective paint as necessary.
OPERATING PROBLEMS AND TROUBLE-SHOOTING
A discussion of problems and their related causes and cures is contained in the trouble-shooting guide of Table 3-1. Many operational problems can be traced to failure to maintain the air tightness of all piping connections and fittings; the piping should be routinely checked to prevent such problems.
3.9 HAZARDS ASSOCIATED WITH Gasifier OPERATION
Unfortunately, gas generator operation involves certain problems, such as toxic hazards and fire hazards. These hazards should not be treated lightly; their inclusion here, at the end of this report, does not mean that these hazards are unimportant. The reader should not underestimate the dangerous nature of these hazards.
3.9.1 Toxic Hazards
Many deaths in Europe during World War II were attributed to poisoning from wood gas generators. The danger of 'generator gas poisoning' was one of the reasons that such gasifiers were readily abandoned at the end of World War II. It is important to emphasize that 'generator gas poisoning' is carbon monoxide (CO) poisoning. Acute 'generator gas poisoning' is identical with the symptoms that may develop if a heating stove damper is closed too early, or if a gasoline vehicle is allowed to idle in a poorly ventilated garage. Table 3-2 shows how poisoning symptoms develop according to the concentration of carbon monoxide in breathable air. It is important to note that rather brief exposures to very small concentrations of carbon monoxide result in undesirable physiological effects. In case of carbon monoxide poisoning, first aid should consist of the following procedures: 1. Move the victim quickly out into the open air or to a room with fresh air and good ventilation. All physical exertion on the part of the victim must be avoided. 2. If the victim is unconscious, every second is valuable. Loosen any tight clothing around the neck. If breathing has stopped, remove foreign objects from the mouth (false teeth, chewing gum, etc.) and immediately give artificial respiration. 3. Keep the victim warm. 4. Always call a physician. 5. In case of mild carbon monoxide poisoning without unconsciousness, the victim should be given oxygen if possible.
3.9.2 Technical Aspects of 'Generator Gas Poisoning'
Generator gas poisoning is often caused by technical defects in the functioning of the gas generator unit. When the engine is running, independent of the starting blower, the entire system is under negative pressure created by the engine's pistons; the risk of poisoning through leakage is therefore minimal. However, when the engine is shut off, formation of wood gas continues, causing an increase of pressure inside the generator unit. This pressure increase lasts for approximately 20 minutes after the engine is shut off. For this reason, it is not advisable to stay in the vehicle during this period. Also, the gas generator unit should be allowed to cool for at least 20 minutes before the vehicle is placed in an enclosed garage connected with living quarters. It should be emphasized that the gas formed during the shutdown period has a carbon monoxide content of 23 to 27% and is thus very toxic.
3.9.3 Fire Hazard
The outside of a gas generator housing drum may reach the same temperature as a catalytic converter on today's automobiles. Care should be taken when operating in areas where dry grass or combustible material can come into contact with the housing drum of the gas generator unit. If a gas generator unit is mounted on a personal car, bus, van or truck, a minimum 6-in. clearance must be maintained around the unit. Disposal of ashes must only be attempted after the unit has cooled down (to below 150oF). Such residue must be placed away from any combustible material and preferably be hosed down with water for absolute safety.
APPENDIX II - LIST OF FIGURES
Fig. S-l. Schematic view of the stratified, downdraft Gasifier Fig. S-2. The prototype wood gas generator unit mounted onto a tractor Fig. S-3. Wood gas generator unit in operation during field testing Fig. 1-1. Wood gas generator unit in operation during field testing Fig. 1-2. Schematic view of the World War II, Imbert gasifier Fig. Fig. 1-3. Schematic view of the stratified, downdraft gasifier Fig. 2-1.The prototype wood gas generator unit mounted onto a tractor Fig. 2-2. Exploded, schematic diagram of the wood gas generator unit and the fuel hopper Fig. 2-3. The fire tube and circular top plate of the gasifier unit Fig. 2-4. Drilling holes into the stainlcss steel mixing bowl to be used for the grate Fig. 2-5. Chains attached to the lip of the stainless steel mixing bowl Fig. 2-6. Connect the mixing bowl to the top plate with chains Fig. 2-7. Braze, do not weld, the plumbing fittings to the, thin walled drums Fig. 2-8. Exploded, schematic diagram of the grate shaking mechanism Fig. 2-9. Parts for the shaker assembly Fig. 2-10. The support frame can be brazed or bolted to the side of the Gasifier unit Fig. 2-11. Containers used in constructing the prototype Gasifier unit Fig. 2-12. Cover for the fuel hopper Fig. 2-13. Operating configuration of the fuel hopper and it's cover Fig. 2-14. Lock ring and welded tabs Fig. 2-15. Exploded, schematic diagram of the filter unit Fig. 2-16. Detail of the standoffs for the bottom plate of the filter unit Fig. 2-17. Divider plate (#1) and bottom plate (#3), with standoffs (#4), for the filter unit Fig. 2-18. Circular lid (#1) for the filter unit Fig. 2-19. Blower (#1) with exhaust extension assembly Fig. 2-20. Assembled and installed blower (#1), extension assembly (#4), and conduit connectors for gas inlet (#2) and outlet (#3) on lid of filter unit Fig. 2-21. Filter container (#1) showing latches (#2) for lid and hose (#3) around top Fig. 2-22. Exploded, schematic diagram of the carbureting unit and control valves Fig. 2-23. Schematic diagram of a butterfly control valve Fig. 2-24. Parts required for the butterfly valve Fig. 2-25. Butterfly valve assembly Fig. 2-26. Assembled butterfly valvesFig. 2-27. Assembled carbureting unit Fig. 2-28. Carbureting unit attached to engine's existing intake manifold Fig. 3-1. Virtually all varieties of wood chips can be used for fuel Fig. 3-2. Ignite a single piece of newspaper to start the Gasifier unit; push the flaming newspaper through the ignition port and directly into the grate Fig. 3-3. Igniting the exhaust gas will demonstrate that the Gasifier unit is working properly Fig. 3-4. Refill the fuel hopper before it becomes two-thirds empty Fig. 3-5. The lid must be used to cover the fuel hopper in wet weather or when shutting the unit down
APPENDIX III - LIST OF TABLES
Table 2-1. List of materials for the Gasifier unit and the wood fuel hopper Table 2-2. Fire tube dimensions Table 2-3. List of materials for the primary filter unit Table 2-4. List of materials for the carbureting unit Table 3-1. Trouble-shooting your wood gas generator Table 3-2. Effects of breathing carbon monoxide
APPENDIX IV - Bibliography
Anonymous, 'Coast to Coast on Homemade Fuel,' The Mother Earth News (No. 73) pp. 178-179 (January/February 1982). Anonymous, 'Wood Gas Update,' ne Mother Earth News (No. 71) pp. 164-165 (September/October 1981). Anonymous, "Mother's Woodburning Truck,' The Mother Earth News (No. 69) pp. 126-129 (May/June 1981). Chatterjee, A.K., State of the An Report on Pyrolysis of Wood and Agricultural Biomass, PN-AAK-818, U.S. Department of Agriculture, Newark, NJ, March 1981. Cruz, I.E., Producer-Gas Technology for Rural Applications, published by the Food and Agriculture Organization of the United Nations, New York, NY, 1985. Donath, E.E., "Vehicle Gas Producers,' Processing Technology (3) pp. 141-153 (1980). Eoff, K.M., and D.M. Post, 'How to Power a Gasoline Engine with Wood,' Technical Reprint No. 1, The Mother Earth News, Hendersonville, NC, 1981. Kaupp, A., and J.R. Goss, State of the Art Report for Small Scale (to 50kW) Gas Producer-Engine Systems, USDA Contract No. 53-319R-O-141, University of California, Davis, CA, March 1981. Miller, B., State-of-the-Art Survey of Wood Gasification, EPRI-AP-3101, Fred C. Hart Associates, Inc., Washington, DC, May 1983. Nygards, N., Wood Gas Generator Vehicles (a translation of the Swedish book), published by Purwaco International, Minneapolis, MN, 1979. Oliver, E.D., Technical Evaluation of Wood Gasification, EPRI-AP-2567, Synthetic Fuels Association, Inc., Palo Alto, CA, August 1982. Reed, T.B. (ed), A Survey of Biomass Gasification, VoL 1--Synopsis and executive Summary, SERI/TR-33-239 (Vol. I), Solar Fnergy Research Institute, Golden, CO, July 1979. Reed, T.B. (ed), A Survey of Biomass Gasification VoL II -- Principles of Gasification, SERM-33-239 (Vol. II), Solar Energy Research Institute, Golden, CO, July 1979. Reed, T.B. (ed), A Survey of Biomass Gasification, VoL III -- Current Technology and Research, SERM-33-239 (Vol. III), Solar Energy Research Institute, Golden, CO, April 1980. Reed, T.B., and A- Das, Handbook of Biomass Downdraft Gasifier Engine Systems, SERI/SP-271-3022, Solar Research Institute, Golden, CO, March 1988. Reed, T.B., and D. Jantzen, Generator Gas: The Swedish experience from 1939-1945 (a translation of the Swedish book, Gengas), SERI/SP-33-140, Solar Energy Research Institute, Golden, CO, January 1979. Skov, N., and M.L. Papworth, PEGASUS (Petroleum Gasoline Substitute Systems), published by the Pegasus Publishing Co., Miami, FL, 1974. Vietmeyer, N.L., et al., Producer Gas: Another Fuel for Motor Vehicle Transport, published by the National Academy Press, Washington, DC, 1983. Wise, D.L. (ed.), Fuel Gas from Biomass, published by the CRC Press, Boca Raton, FL, 1981.







































